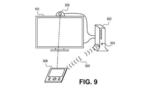
sonypatente_03 Published 4 febrero 2012 at 500 × 300 in ¿Está Sony inspirándose en la WiiU de Nintendo para crear su PS4?