La próxima generación está en marcha mal que nos pese a unos pocos y sin duda las desarrolladoras de hardware tienen un plan. Nintendo ha sido la primera en mostrar sus cartas, su consola WII U, de nuevo una nueva forma de jugar, hace más difícil separar el concepto de lo que es consola de mando de control. Microsoft tras sembrar con Kinect se prevé que termine de explotar su concepto ofreciendo más precisión y nuevas características también integradas en la consola. Y Sony…
Nintendo inició el camino y todos han decidido seguirla. Microsoft llevó a un nuevo nivel el concepto del Wiimote y de Move con el mensaje “Tú eres el mando” y bueno… el resto ya lo conocéis. Sin embargo la gran duda de cara a la nueva generación es ¿y Sony qué? Move no ha sido el éxito esperado y sin los apoyos necesarios parece difícil que llegue a PS4 al menos tal y como lo conocemos.
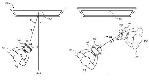
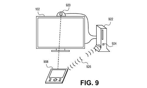
Hemos descubierto que Sony, poseedora de muchas patentes, dispone de una registrada en el 2010 concedida hace poco, con unas características muy similares si no “clavadas” a las del mando de la próxima consola de Nintendo. Su concepto es prácticamente el mismo. En el registro de patentes se conoce como “Position-Dependent Gaming 3-D controller, and Handheld as a Remote», es un mando de control, con pantalla y cámara, capaz de interactuar con la pantalla del televisor, de reconocer su orientación y posición así como la del usuario. Puede interactuar con la pantalla de un televisor, con otro mando, funcionar de forma independiente y hasta de hacer uso de la realidad aumentada.
Realmente que todo esto se traslade a Playstation es tan solo una conjetura como todo lo demás que no hay confirmación oficial. Lo que está claro es que el modelo de control tradicional parece ya no ser suficiente de cara a captar a un mayor número de consumidores y Sony a menos que ofrezca algo realmente nuevo y sorprendente parece que tendrá que posicionarse en alguna dirección en la que se mueve el mercado.
Vía | Zonared





Las compañías tienen tantas «patentes» registradas, que esta tiene más posibilidades de acabar en el cajón donde esté guardada, que salir a la luz. No porque sea mala, sino simplemente por porcentaje.
Como Saúl comentó, lo del juego en remoto y tal ya lo lleva la PSP, que, miremos como miremos, está en el mercado desde hace muuuuuchos más meses que la WiiU.
Esta patente y Wii U es mucho más que mostrar en una pantallita un juego que reproduce otro dispositivo. Con un móvil que regalan los operadores de telefonia con Android 2.2 tambien puedo ver el escritorio de mi ordenador y controlar muchos de sus aspectos remotamente… pero de esto a interactuar con la pantalla de tv y los elementos que se muestran asi como con otros dispositivos y reconocer posicion, etc. hay un largo techo.
«trecho» joer… puntos teclados tactiles y predictivos xD
¿Chony copiar, y encima a Nintendo? no onvre, no, hasta ahí podríamos llegar. Si es que… todos equisboxers.
Jurl.
Y si esta patente es del año 2010?¿ ¿Cómo queda la cosa? Será que Nintendo plagia a Sony… XDD
Naaa, antes vemos una Dreamcast 2 a pachas entre Seeega y los de la manzanita. XDDD
Claro, seguro… de hecho Nintendo no ha plagiado a Sony por esta patente, ni por la «interconexión» de PSP con Ps3, ha ido mucho más lejos, ha plagiado directamente a SEGA y el cable que conectaba la Game Gear con la tv xD
juasss XDDDD
O sea, que Choni plagia a Seeeega.
Qué cosas. XD
De todas formas, si se quiere hablar de Sony y sus cosillas, como sus cambios para el futuro, en este artículo de TWSJ hay bastante que leer.
http://tinyurl.com/82ejo45
Algunos medios lo han ignorado, otros sesgado, otros reinterpretado, yo me limito a poner el enlace y que cada uno nos dé sus propias interpretaciones. Daba para una entrada, más allá de escoger un par de frases, me parece.
Semiparafraseando al golpista: ¡Que es Sony, joder!
😛